language Italiano
Serie SPB4f

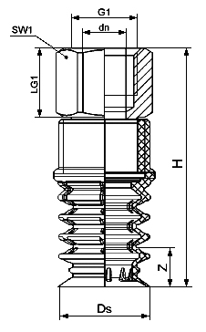
Inserto Femmina e tabella dimensionale

(la ventosa deve essere ordinata separatamente)

    Aireka Fluidica Electric Oleodinamica Pneumatica Vuoto Economy

Caratteristiche tecniche

Struttura • Labbro di tenuta estremamente flessibile e adattabile • Elemento di stabilizzazione del sacchetto integrato • Filtro a innesto opzionale
Materiale ventosa SI-55 = Silicone verde adatto per alimenti 55 ± 5 ShA
Applicazioni consigliate Tenuta ottimale su sacchetti caratterizzati da accentuata presenza di grinze, scarso grado di riempimento o per movimentazione di prodotti non perfettamente stabili

Tabella codici

Codice fornitore dn ([mm]) Ds ([mm]) G1 H ([mm]) LG1 ([mm]) Ø Ventosa ([mm]) SW1 ([mm]) Z ([mm]) Ø Ds ([mm])
label SC 090 G1/8-IG 9 50 1/8" 86,5 12 50 27 26
label SC 080 G1/4-IG 11 11 30 40 1/4" 1/4" 57,5 69,5 12 12 30 40 22 22 10 20
label SC 080 G1/8-IG 9 9 30 40 1/8" 1/8" 57,5 69,5 12 12 30 40 22 22 10 20
label SC 090 G1/4-IG 11 50 1/4" 86,5 12 50 27 26
label SC 090 G3/8-IG 15 50 3/8" 86,5 12 50 27 26
label SC 080 G3/8-IG 11, 11 30, 40 3/8" 3/8" 57,5 69,5 12, 12 30, 40 22, 22 10, 20
label SC 090 G1/2-IG 15 1/2" 86,5 16 50 50 27 26

Vuoi saperne di più?

Contattaci senza impegno compilando il nostro form, i nostri esperti sono a tua disposizione.

OP
Ewo
STIMA Motori Elettrici
Rastelli Raccordi
RobotPhoenix
Universal Robots
Rollon
Ludecke
Enertronica Santerno
Quetti
Simian Project
Mundial Casartelli
Bucchi
Aignep
Werma
Loxeal
Burkert
DNP
Mannesmann Stainless Tubes
NE-MA
Logo Stima

Cerca in Stima

search
Informativa

Noi e terze parti selezionate (come ad esempio Google, Facebook, LinkedIn, ecc.) utilizziamo cookie o tecnologie simili per finalità tecniche e, con il tuo consenso, anche per altre finalità come ad esempio per mostrati annunci personalizzati e non personalizzati più utili per te, come specificato nella .
Chiudendo questo banner con la crocetta o cliccando su "Rifiuta", verranno utilizzati solamente cookie tecnici. Se vuoi selezionare i cookie da installare, clicca su "Personalizza". Se preferisci, puoi acconsentire all'utilizzo di tutti i cookie, anche diversi da quelli tecnici, cliccando su "Accetta tutti". In qualsiasi momento potrai modificare la scelta effettuata.