language Italiano
Serie SGO (VTOF)

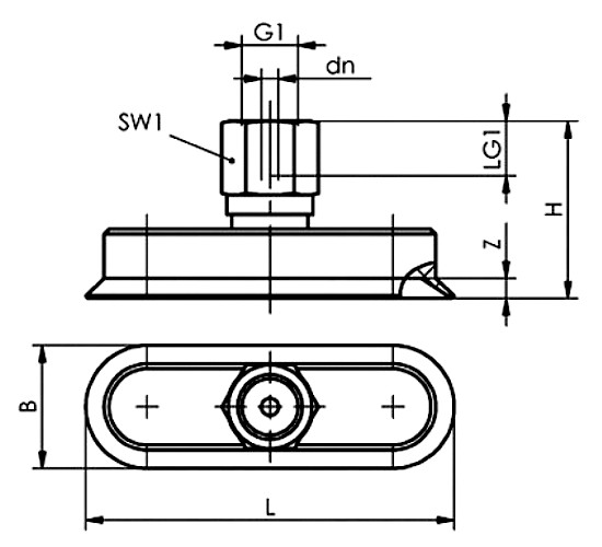
Inserto Maschio e tabella dimensionale

(la ventosa deve essere ordinata separatamente)

    Aireka Fluidica Electric Oleodinamica Pneumatica Vuoto Economy

Caratteristiche tecniche

Materiali ventosa standard NBR-60 = Perbunan 60 ± 5 ShA (Codice Camozzi "N") SI-60 = Silicone 60 ± 5 ShA (Codice Camozzi "S") SI-70 = Silicone 70 ± 5 ShA (solo SGO 12x4 ed SGO 90x30)
Materiali ventosa a richiesta NBR-AS-60 = Perbunan antistatico 60 ± 5 ShA HT1-60 = Materiale alta temperatura 60 ± 5 ShA SI-70 = Silicone
* La disponibilità dei materiali a richiesta, per i singoli diametri, è da verificare con il nostro ufficio tecnico

Tabella codici

Codice fornitore B Codice Camozzi dn ([mm]) G1 H ([mm]) L ([mm]) LG1 ([mm]) Misura ventosa ([mm]) SW1 ([mm]) Z ([mm])
label SA-NIP N003-M3-AG 2 3,5 NPV-A-M3-M 1,0 1,0 M3 M3 8 8 4 7 3,0 3,0 4x2 7x3,5 5 5 0,5 0,8
label SA-NIP N020-M5-AG 4 - 1,8 M5 18 12 4,5 12x4 8 0,5
label SA-NIP N021 M5-AG 5 6 NPV-C-M5-M 2,0 2,0 M5 M5 17 17 15 18 5,0 5,0 15x5 18x6 8 8 0,7 0,8
label SA-NIP N022 G1/8-AG 8 10 NPV-P-1/8-M 3,5 3,5 1/8" 1/8" 17 17 24 30 8,0 8,0 24x8 30x10 14 14 1,0 1,5
label SA-NIP N023 G1/4-AG 15 20 25 30 NPV-Q-1/4-M 3,5 3,5 3,5 3,5 1/4" 1/4" 1/4" 1/4" 26 26 26 26 45 60 75 90 10,0 10,0 10,0 10,0 45x15 60x20 75x25 90x30 17 171717 2,0 2,5 2,8 3,5

Vuoi saperne di più?

Contattaci senza impegno compilando il nostro form, i nostri esperti sono a tua disposizione.

Nuova General Instruments
Euroswitch
Tognella
Gemels
MP Filtri
MiR
Industrie Giacomelli
Nass Magnet
Mannesmann Stainless Tubes
Merlett
Mintor
Aignep
Spin Robotics
Rollon
Norma Group
InMotion Robotic
Wika
F.lli Ghiotto
FBN Filters
Burkert
Logo Stima

Cerca in Stima

search
Informativa

Noi e terze parti selezionate (come ad esempio Google, Facebook, LinkedIn, ecc.) utilizziamo cookie o tecnologie simili per finalità tecniche e, con il tuo consenso, anche per altre finalità come ad esempio per mostrati annunci personalizzati e non personalizzati più utili per te, come specificato nella .
Chiudendo questo banner con la crocetta o cliccando su "Rifiuta", verranno utilizzati solamente cookie tecnici. Se vuoi selezionare i cookie da installare, clicca su "Personalizza". Se preferisci, puoi acconsentire all'utilizzo di tutti i cookie, anche diversi da quelli tecnici, cliccando su "Accetta tutti". In qualsiasi momento potrai modificare la scelta effettuata.